百奥赛图公告,2025年营业收入13.79亿元外汇市场服务网,同比增长40.63%;归属于上市公司股东的净利润1.73亿元,同比增长416.37%。
举报 第一财经广告合作,请点击这里此内容为第一财经原创,著作权归第一财经所有。未经第一财经书面授权,不得以任何方式加以使用,包括转载、摘编、复制或建立镜像。第一财经保留追究侵权者法律责任的权利。如需获得授权请联系第一财经版权部:banquan@yicai.com 相关阅读

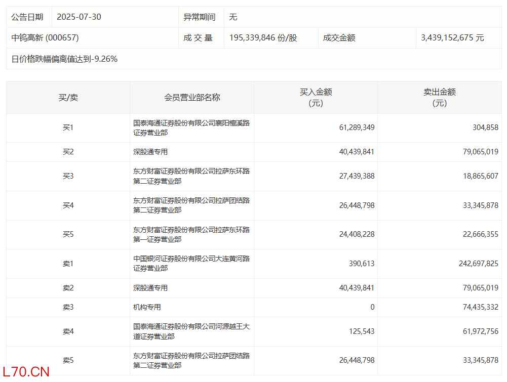
中钨高新今日跌10.00% 银河大连黄河路净卖出2.42亿元
中钨高新今日跌10.00% 银河大连黄河路净卖出2.42亿元
配资炒股 2025-07-30 16:34

中国电建今日涨停,有3家机构专用席位净卖出3.33亿元
中国电建今日涨停,有3家机构专用席位净卖出3.33亿元
2025-07-23 17:01

图灵量子完成亿元级战略轮融
此次融资由盛世投资领投,融资资金将重点用于光子芯片产品化研发、产业化及全国战略布局。
元股证券:ygzq.hk
88 2025-07-22 19:28

许继电气今日涨停 五机构合计卖出4.92亿元
许继电气今日涨停 五机构合计卖出4.92亿元
2025-07-21 16:49

恒宝股份今日跌2.41%外汇市场服务网,杭州帮席位净卖出1.1亿元
恒宝股份今日跌2.41%,杭州帮席位净卖出1.1亿元

2025-07-21 16:37 一财最热 点击关闭
环宇证券官方入口|实盘配资领军品牌提示:本文来自互联网,不代表本网站观点。